
公称通径DN(mm) |
15-150 |
|||||
公称压力PN(MPa) |
1.6 |
2.5 |
||||
公称压力 |
强度试验 |
2.4 |
3.75 |
|||
密封试验 |
1.76 |
2.75 |
||||
材料\材料代号 |
C |
P |
R |
|||
| 主要 零件 |
阀体 |
WCB |
ZG1Cr 18Ni 9Ti |
ZG0Cr 18Ni 12Mo2Ti |
||
球体 |
WCB |
ZG1Cr 18Ni 9Ti |
ZG0Cr 18Ni 12Mo2Ti |
|||
阀杆 |
2Cr13 |
1Cr 18Ni 9Ti |
0Cr 18Ni 12Mo2Ti |
|||
密封圈 |
增强聚四氟乙烯对位聚苯 |
|||||
填料 |
聚四氟乙烯柔性石墨 |
|||||
适用 |
适用介质 |
水、蒸汽、油品 |
硝酸类 |
醋酸类 |
||
适用温度 |
-28-250 |
|||||
执行器 |
型号 |
DA/SR系列、GTD/GTE系列、QGSY系列等 |
||||
气源压力 |
0.4-0.7MPa |
|||||
执行标准 |
设计制造 |
结构长度 |
法兰尺寸 |
压力温度 |
试验检验 |
|
GB12237 |
GB12221 |
GB9113 |
GB9131 |
GB13927 |
||
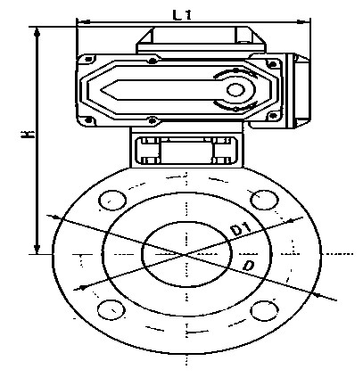
Q971电动对夹球阀安装尺寸表
公称通径DN |
L |
L1 |
H |
D |
D1 |
额定功率 |
额定电流 |
压力 |
1.6/2.5 |
1.6/2.5 |
1.6/2.5 |
1.6/2.5 |
1.6/2.5 |
|
|
15 |
32 |
155 |
218 |
95 |
65 |
15W |
0.2A |
20 |
38 |
155 |
223 |
105 |
75 |
15W |
0.2A |
25 |
45 |
155 |
230 |
115 |
86 |
15W |
0.2A |
32 |
55 |
155 |
236 |
136 |
100 |
15W |
0.2A |
40 |
62 |
208 |
243 |
146 |
110 |
25W |
0.5A |
50 |
72 |
208 |
250 |
160 |
125 |
25W |
0.5A |
65 |
95 |
208 |
260 |
180 |
145 |
25W |
0.5A |
80 |
120 |
256 |
278 |
195 |
160 |
50W |
0.8A |
100 |
145 |
256 |
338 |
215 |
180 |
90W |
1.0A |
125 |
200 |
256 |
352 |
245 |
210 |
90W |
1.0A |
150 |
225 |
288 |
382 |
280 |
240 |
120W |
1.2A |
200 |
230 |
288 |
390 |
335 |
295 |
150W |
1.2A |